最近國家逐漸對干細胞研究和臨床試驗進行規范,越來越多的干細胞臨床研究項目都通過了國家衛健委和藥監局的雙備案,多達100多種干細胞藥品進入臨床試驗階段,而且許多醫院也紛紛開展了研究者發起的干細胞臨床研究。
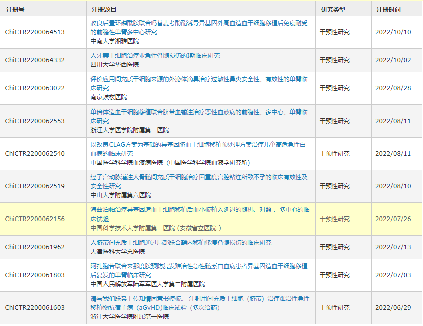
以下是2022年中國干細胞臨床試驗注冊中心,2022年注冊的臨床項目。





入組干細胞臨床試驗會遇到哪些問題呢?
問題一:臨床試驗安全嗎?
雖然大部分臨床試驗都經過了早期的安全性測試,但是因為細胞來源不同、制備標準不同、臨床試驗方案差異等等,所以任何臨床試驗都有一定安全風險。
問題二:入組后一定會用上干細胞嗎?
由于部分臨床試驗采取雙盲隨機對照試驗,所以即便入組也不是所有人都能獲得試驗用干細胞。
問題三:入組后還會收取費用嗎?
入組后與試驗相關的檢查費、治療費、以及干細胞相關費用給與免除。
干細胞招募列表??//? Mercells
臍帶間充質干細胞治療脊髓損傷臨床試驗
中山大學附三院 華西醫院 上海市東方醫院
入選標準:
1、中國公民,年齡18-65歲
2、外傷所致脊髓損傷
3、ASIA脊髓損傷分級A-D級
4、病程兩周以上
5、配合完成隨訪
聯系方式:
中山三院脊柱外科徐瑩
郵箱:zssyxy93@163.com
華西醫院骨科門診黃康康
郵箱:kang233500@126.com
上海市東方醫院脊柱外科門診李立鈞
郵箱:smhnf9@163.com
臍帶間充質干細胞移植治療乙肝后終末期肝硬化的臨床研究
四川省人民醫院
入選標準:
1、年齡在20-65歲之間(男性或女性均可);
2、確診的慢性乙肝后終末期肝硬化,病程5年以上;
3、不適合施行肝臟移植、或者無供肝來源;
4、無嚴重的出血趨向或活動性出血;
5、無肝性腦病;
6、無嚴重心肺等全身性疾病或惡性腫瘤病史;
7、經嚴格內科保守治療6月以上,癥狀無減輕或生活質量評分無顯著改善;
8、自愿加入本研究,簽署知情同意書。
聯系方式:四川省人民醫院 細胞移植中心肝膽外科門診(門診大樓2樓外科2診室)
門診時間:每周五下午14:00-17:00聯 系 人:姚豫桐(副主任醫師、副教授)
聯系電話:19160363772(周一至周五,9:00-17:00)
臍帶間充質肝細胞治療肝硬化失代嘗期患者的研究
煙臺毓璜頂醫院
入選標準:
1、年齡18-60歲(含臨界值),性別不限;
2、確診為酒精性肝硬化失代償期(病毒性肝炎導3、致的肝硬化失代償期不納入研究);
4、非首次診斷且既往治療無效或效果不明顯;
5、肝功能仍處于Child-Pugh 分級A級或MELD評分<12份;
6、需間斷補充白蛋白及應用利尿劑治療;
7、白蛋白<35g/L,總膽紅素<10倍正常值上限(肝細胞型肝炎)或<15倍正常值上線,凝血酶原活動度>40%【肝性腦病(Ⅱ級以下)已控制】;
8、近一個月內無消化道出血病史;
9、理解并自愿簽署知情同意書。
聯系方式:18653578956
人臍帶源間充質干細胞治療乙肝肝硬化(代償期)臨床研究項目
武漢大學人民醫院
入選標準:乙肝肝硬化18-65歲
聯系方式:電話:13720389866 微信:yyt651003
人臍帶間充質干細胞治療乙型病毒性肝炎肝硬化失代償期的臨床研究
武漢大學中南醫院
入組條件:
1、 年齡在18~65周歲(包括18和65周歲),性別不限;
2、確診為乙型病毒性肝炎肝硬化失代償期;
3、常規內科治療效果不佳,病情反復;
4、血漿白蛋白<35g/L,總膽紅素<170μmol/L,凝血酶原活動度>30%,Child -Pugh評分≥7分;MELD評分≤15分;
5、血紅蛋白>70g/L,血小板計數>3×10^9/L;
6、無條件接受肝移植;
7、 自愿參加本臨床研究。
聯系方式:18502747204 /027-67812588
人臍帶間充質干細胞治療糖尿病腎病的臨床研究
武漢大學人民醫院
入組條件:
1、病程:2型糖尿病病程5-15年;
2、年齡:30-65歲;
3、蛋白尿異常:UACR>300mg/g或24H蛋白尿定量>0.5g;
4、腎功能異常:eGFR在30-60ml/min之間;
5、腎活檢:診斷為糖尿病腎病。
聯系方式:15926267337/18108670268
臍帶間充質干細胞治療糖尿病腎病的有效性及安全性的臨床研究
上海市東方醫院內分泌科
入組條件:
1、年齡30~70周歲(含)之間,性別不限;
2、確診2型糖尿病腎病;
3、糖尿病病程5-15年;
4、24kg/m2 ≤體重指數(BMI)≤30 kg/m2;
5、7.5%≤HbA1c≤10%;
6、應用胰島素治療;
7、該研究已經完成國家備案,擬招募18例2型糖尿病合并腎病患者參加此項研究。
微信號:16621382543進行咨詢
臍帶間充質干細胞治療糖尿病足臨床招募
海軍軍醫大學第一附屬醫院
入組條件:
1、年齡18-65歲,性別不限;
2、明確診斷為糖尿病患者;
3、糖尿病足潰瘍持續2周以上;
4、Wagner分級I級或II級,1cm2≤清創后創面面積≤20cm2,(有多處病變者,選擇潰瘍面積最大處作為目標病變),0.7<目標病變側的踝/肱指數(ABI)<0.9,經皮氧分壓(TcPO2)>20mmHg;
5、具有生育能力的女性及未絕育的男性必須同意在間充質干細胞給藥后180天內采取高效的避孕措施;
6、理解并簽署知情同意書,同意依照試驗方案參加治療及隨訪的患者。
電子郵件: 18801780080@163.com
人胎盤間充質干細胞凝膠治療糖尿病足潰瘍I期臨床試驗項目
1、首都醫科大學附屬北京同仁醫院
2、武漢大學中南醫院
3、南昌大學第一附屬醫院
4、華中科技大學同濟醫學院附屬同濟醫院
5、河南科技大學附屬第一醫院
6、聊城市人民醫院
入組條件:
1、18歲≤年齡≤80歲;
2、臨床診斷為糖尿病足潰瘍,Wagner分級為3級或以下;
3、糖尿病足潰瘍采用常規治療方法治療2周或以上,潰瘍無明顯好轉(潰瘍長徑或潰瘍面積縮小≤40%)或繼續擴大的患者;
4、外科治療后擬試驗一側的肢體血液供應正常或僅有輕度缺血,經皮氧分壓TcPO2≥30mmHg,踝肱指數(ABI)≥0.71(如ABI≥1.3,則需趾肱指數(TBI)≥0.5);
5、擬試驗處潰瘍形狀較齊整,清創后的潰瘍病灶長徑≥1.5cm且≤10 cm,或清創后的潰瘍病灶面積≥2cm2且≤30 cm2;如果同時有多個潰瘍病灶,選擇一個作為試驗對象;
6、閱讀并充分理解患者須知,同意參加此臨床試驗,并簽署知情同意書。
聯系方式:
1、首都醫科大學附屬北京同仁醫院
聯系電話:18804310121
2、武漢大學中南醫院
聯系電話:13975839369/13886079515
3、南昌大學第一附屬醫院
聯系電話:13667001607
4、華中科技大學同濟醫學院附屬同濟醫院
聯系電話:18154419770
5、河南科技大學附屬第一醫院
聯系電話:13526917542 /18737907582
6、聊城市人民醫院
聯系電話:15552157670
人臍帶間充質干細胞注射液治療糖尿病足創面的前瞻性、隨機、對照臨床研究
徐州醫科大學附屬醫院 整形美容中心
入組條件:
1、二型糖尿病足緩則,符合1999年WHO糖尿病足診斷標準,篩選期或隨機化前三個月內檢測到糖化血紅蛋白(HbA1C)≤10%;
2、目標肢體踝肱指數至少為0.8,無間歇性跛行;
3、目標潰瘍必須具有以下特征;
4、潰瘍位于足部、踝部及脛前處;
5、隨機化之前至少已存在4周;
6、如有多個創面,選擇符合入組標準且面積最大的一個創面進行干預和評價。其余創面常規治療不納入研究;
7、無肉眼可見的膿液及壞死物質
8、自愿參與本臨床研究,能配合醫生開展研究,并簽署知情同意書。
聯系方式:
李主任 15262052200/0516-85802230
人臍帶間充質干細胞治療Ⅱ型糖尿病臨床研究招募
北京大學深圳醫院
入組條件:
1、確診Ⅱ型糖尿病;
2、初篩期7%≤HbA1c≤9.5%;
3、篩選期穩定至7%≤HbA1c≤9.5%;
4、18 歲≤年齡<70 歲;
5、分組前總胰島素用量≤100IU/d;
6、基礎C肽≥0.3 ng/ml;
7、理解并簽署知情同意書。
電子郵箱:guotao@beike.cc
臍帶間充質干細胞治療卵巢早衰/早發性卵巢功能不全的臨床研究
南京大學醫學院附屬鼓樓醫院生殖醫學中心
入組條件:
卵巢早衰(POF)的初步篩選條件:
1、年齡小于40歲;
2、原發性閉經或繼發性閉經>4個月;
3、至少間隔4周以上兩次FSH>40IU/L;
4、伴有潮熱、出汗、情緒波動等雌激素降低等絕經期癥狀;
5、心、肝、腎、凝血功能良好,無內外科疾病史、惡性腫瘤病史;
6、染色體正常,無遺傳性疾病。
早發性卵巢功能不全(POI)的初步篩選條件:1、年齡小于40歲;
2、卵巢基礎竇卵泡數小于4枚,FSH≤40IU/L‘
3、既往IVF周期未獲卵或雖有獲卵但無可用胚胎4、心、肝、腎、凝血功能良好,無內外科疾病史、惡性腫瘤病史;
5、染色體正常,無遺傳性疾病。
聯系方式:025-68183321/68183322
臍帶間充質干細胞卵巢原位注射治療早發性卵巢功能不全的安全性和有效性臨床研究
浙江大學醫學院附屬邵逸夫醫院生殖中心&婦產科
入組條件:
1、無法接受試驗要求的治療觀察流程;
2、遺傳性疾病、染色體異常、有明確導致早發性卵巢功能不全/卵巢早衰的基因異常;
3、存在乳腺、子宮、卵巢腫瘤,以及任何其他良惡性腫瘤;
4、過敏體質;
5、原發性閉經;
6、子宮畸形;
7、醫源性卵巢功能不全;
8、婦科急慢性炎癥未得到控制(包含子宮內膜炎等);
9、薄型子宮內膜(雙層子宮內膜厚度≤7mm);
10、合并子宮內膜異位癥;
11、重要臟器的嚴重功能損害,凝血機制異常;
12、靜脈血栓栓塞癥高危因素;
13、術前檢查血常規、大小便常規、凝血常規、肝腎功能、心電圖、胸片等異常。
聯系方式:浙江省杭州市上城區慶春東路3號
人臍帶間充質干細胞治療兒童痙攣性腦性癱瘓臨床研究招募
十堰太和醫院
入組條件:
1、年齡2-6歲,性別不限;
2、已確診為痙攣型腦癱;
3、GMFCS 2-5級;
4、受試者及監護人愿意并能配合完成預定的訪視、治療計劃和實驗室檢查等試驗程序,并簽署書面知情同意書。
聯系方式:
■兒科1病區:15871088127 13872812997
■ 聯系電話: 025-68183321/68183322
人臍帶間充質干細胞治療心衰臨床研究患者招募
上海市東方醫院
入組條件:
1、冠心病患者藥物治療效果不佳,出現左心功能不全臨床表現,EF<40%;
2、年齡小于70歲,性別不限;
3、冠狀動脈造影術證實有冠狀動脈慢性閉塞性病變,表現為單支或多支冠脈血管嚴重狹窄( ≥75% ),甚至完全閉塞;
4、患者無精神疾病及語言功能障礙,可以完全理解治療方法。
咨詢電話:15221253793
ELPIS人臍帶間充質干細胞注射液治療成年中、重度慢性斑塊型銀屑病患者的I期臨床研究
復旦大學附屬華山醫院
上海市皮膚病醫院
北京大學第三醫院
中南大學湘雅醫院
入組條件:
1、中、重度銀屑病患者
咨詢電話:不詳
脂肪原始間充質干細胞治療中中毒尋常型銀屑病的隨機雙盲對照試驗
廣東省中醫院 皮膚科
入組條件:
1、尋常型銀屑病患者;
2、年齡18-65歲;
3、皮損成都為PASI>7,或BSA>10%;
4、簽署知情同意書;
聯系方式:廣東省中醫院皮膚科
臍帶間充質干細胞治療中-重度持續性變應性鼻炎患者的研究
煙臺毓璜頂醫院
入組條件:
1、年齡18-60歲(含臨界值),性別不限;
2、符合變應性鼻炎診斷標準的中-重度持性變應性鼻炎患者;
3、變應原檢查結果顯示過敏原為塵螨單一過敏;
4、患者拒絕接受變應原特異性免疫治療;
5、患者愿意接受干細胞治療并簽署知情同意書;
6、經歷2年以上的抗組胺、鼻用糖皮激素等藥物治療,療效不佳,其癥狀嚴重影響生活。
咨詢電話:0535-6691999轉83523
人胎盤間充質干細胞治療燒傷患者中厚供皮區創面的隨機對照臨床研究
鄭州市第一人民醫院燒傷科
入組條件:
1、自愿參加并簽署知情同意書;
2、燒傷或整形手術,需要自體中厚皮(取皮厚度0.4mm)移植的受試者;
3、年齡18~65周歲,性別不限;
4、供皮區選取軀干部或大腿外側;
5、觀察面積90cm2;
6、能配合本研究方案,接受術后定期訪視者。
排除標準:
1、對海藻酸鈉(凝膠成分)過敏者;
2、不能穩定控制的高血壓、糖尿病受試者;
3、妊娠或哺乳期婦女;
4、受試者病情可能影響研究評估或需要合并采用可能影響療效評估的醫學治療;
5、有急性或慢性腎臟疾病、腎功能衰竭或血清肌酐水平≥正常值上限1.5倍;
6、有急性或慢性肝臟疾病,肝功能中總膽紅素、丙氨酸氨基轉移酶、門冬氨酸氨基轉移酶≥正常值上限2.0倍;
7、有惡性腫瘤病史者;
8、參加其他臨床研究未滿 3個月者;
9、使用免疫抑制劑及長期(超過 1個月)應用皮質激素者(不包含局部應用);
10、感染性疾病受試者(傳染病四項任一項陽性);
咨詢電話:0371-56580307
間充質干細胞治療缺血性卒中Ⅰ/Ⅱa期臨床試驗(ASSIST)
首都醫科大學附屬北京天壇醫院
入組條件:
1、18~65周歲的腦梗死康復期患者(包括亞急性期和慢性期、后遺癥期,發病時間≤3年),性別不限;
2、經影像學確診大腦中動脈供血區域的明確腦梗死灶;
3、有明確的神經功能缺損表現,如運動、認知等功能障礙(美國國立衛生研究院卒中量表7<NIHSS<21分);
4、同意在研究期間采取有效避孕措施者,且育齡期婦女妊娠試驗陰性;
5、簽署患者知情同意書,并同意按照研究方案的要求參加所有的訪視、檢查和治療。
注:以上為部分主要標準,最終入組標準由研究醫生掌握。
■咨詢電話:13691253809
人源神經干細胞治療阿爾茨海默病(AD)”的臨床研究
上海市東方醫院功能神經科
入組條件:
1、男性或女性AD患者,年齡50-75歲;
2、符合阿爾海默病診斷標準中可能的AD;
3、病情程度為中度AD患者:簡易精神狀態評價量表MMSE總分≦16;
4、受試者為小學畢(結)業及以上文化程度,有能力完成方案規定的認知能力測定和其測試;
5、生活在家中,有合適的陪護可以陪同患者進行所有門診訪視;或生活在社區公寓,有合適的陪護可以陪同患者進行所有門診訪視并且每周可以自由探視患者;
6、篩查頭顱MRI+MRA與AD診斷相一致;
7、語言流利且有證據表明發病前有正常智力水平;
8、有適當的視覺和聽覺功能,可以完成認知和功能評估;
9、如果服用AChEI或美金剛,必須連續服用至少4個月且在入組前至少2個月維持穩定的劑量;
10、患者和陪護主觀自愿參加所有的檢查與評估,并按研究要求完成所有試驗。
咨詢電話:15921230693(同微信)
人源神經干細胞治療帕金森病的安全性和有效性臨床研究
北京協和醫院干細胞治療中心
入組條件:
1、入組時年齡范圍:50-75周歲(含臨界值),性別不限;
2、診斷符合MDS臨床確診帕金森病;
3、 病程≥5年;
4、 根據MDS-UPDRS評分量表,藥物治療“開”期Hoehn-Yahr分級為3級;
5、入組前穩定使用等效多巴胺劑量≥300mg/日至少1月;
6、患者本人和/或其法定監護人同意參加本臨床試驗并簽署知情同意書。
咨詢電話:13241176613、13011828338
人源神經干細胞”治療早發型帕金森病的臨床研究
同濟大學附屬同濟醫院
入組條件:1、年齡30-65周歲(含臨界值),性別不限;
2、臨床診斷符合2015年國際運動障礙協會(MDS)制定的帕金森病診斷標準中的臨床確診的帕金森病;
3、病程≥5年,發病時年齡<50歲(含臨界值);
4、修訂的Hoehn-Yahr分級為2-4級;
5、出現異動癥,包括療效減退、開關現象、異動癥等。
聯系方式:13818659701/021-66111927
異體人源脂肪間充質祖細胞注射液”膝關節炎膝關節炎本項臨床試驗
臨床試驗主要研究者及研究中心
鮑春德 教授 上海交通大學醫學院附屬仁濟醫院
張長青 教授 上海市第六人民醫院
易誠青 教授 上海市第一人民醫院
萬偉國 教授 復旦大學附屬華山醫院
王國春 教授 北京中日友好醫院
嚴世貴 教授 浙江大學醫學院附屬第二醫院
入組條件:
1、男性或女性,年齡40~75周歲;
2、確診為膝骨關節炎,且膝關節疼痛明顯,需服用止疼類藥物;
3、病程在6個月到10年之間;
4、患者可以自主行走(日常生活中不使用輪椅、助行器或拐杖);
5、患者沒有做過膝關節置換手術,并且在接下來的6個月內,也沒有做膝關節鏡手術或其它與膝關節操作有關的開放性手術的計劃;
6;患者在過去的3個月內,沒有進行過關節腔內藥物注射治療(比如:玻璃酸鈉,激素,高滲糖等);
7、患者在過去的1個月內,沒有服用過氨基葡萄糖和或硫酸軟骨素類藥物;
8、患者在過去的1個月內,沒有使用過地塞米松、強的松、氫化可的松等激素類。
聯系方式:
可前往上述六位專家的門診進行咨詢(可查詢醫院官網),也可撥打021-64030912進行溝通。
以上信息來源于醫院網絡和干細胞研究機構,僅供參考,不作商業用途。
掃碼添加官方微信